公司简介 公司新闻 综合资讯 产品展示 产品目录 客户反馈 联系我们 电子邮局
  主要产品为静态混合器、动态混合设备、传热反应设备、过滤设备、消声设备、阻火设备等

旋转加料器
星形给料机
叶轮给料机
卸料阀
关风机
闭风阀
卸灰阀
星形阀
螺旋输送机
混合器
塔式反应器
管式反应器
环管反应器
高效换热器
萃取塔
管道过滤器
自清洗过滤器
空气过滤器
灭菌过滤器
滤件系列
精细过滤器
粉体混合设备
液体搅拌设备
消声器
特种小型设备
排水器
纸浆漂白专用设备
除污器(滤水器)
喷射器
纤维除雾器
自动进料搅拌釜

 
喷射器
PSQ-型蒸汽喷射真空泵
PSG-气固喷射器
PSB电线电缆燃烧仪检测喷射器
PSC活性炭喷射器
PSS水泵房喷射节能器
PSY生物柴油喷射器
PST脱硫喷射器
PSD-地坑喷射器
PSJ喷射加热器
罐用喷射器
PSK开工抽引器
PSZ罐底焊缝真空检漏盒抽空器
液固喷射器
抽空器


PSZ型 罐底焊缝真空检漏盒抽空器

一般油罐底板焊缝试漏方法
   油罐底板在建成和维修以后必须进行检漏。常用的方法有:真空箱试漏法、漏磁扫描探伤、气体检漏和充水试压等方法。


罐底焊缝真空检漏盒抽空器适用于真空试漏法
   真空检漏盒采用薄板做成无底的长方形盒子,盒顶部严密地镶嵌一块厚玻璃,盒底四周边沿包有不透气的海绵橡胶,使盒子严密地扣在底板上。盒内用反光的白漆涂刷。盒子上装抽气短管和进气阀。试验焊缝时,先在焊缝上涂肥皂水,再将真空盒扣上,用真空泵将盒内抽成55kPa的真空度,最好在-70KPa以上;观察盒内有无气泡出现,如有气泡,应作出标志加以焊补。

  罐底焊缝真空检漏盒抽空器常被用来检查油罐焊缝,特别是圆周焊接部分,不常用于整个罐底。

  罐底焊缝真空检漏盒抽空器安装在真空箱外部,通过0.5MPa的压缩空气产生一定的负压值,一般在-70KPa以上,实现焊缝的真空检漏试验

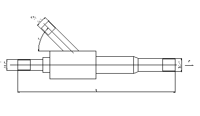
二、抽空器结构:
   罐底焊缝真空检漏盒抽空器是一个三通结构,吸气口垂直或采用一定角度都可,一般材质为碳钢,接口规格为4分外丝联接;出口联通大气;负压值在-70KPa以上,特别适用于真空盒试验装置;

三、设备尺寸:

南通沃尔驰石化工程有限公司 地址:启东市汇龙镇中央河中路691号 邮编:226200 http://www.jsxadq.com E-mail:13862978163@126.com
电话:0513-83325673 传真:0513-83119878 手机: 13862978163
星形给料机|旋转阀|叶轮给料机|卸料阀|关风机|闭风阀|卸灰阀|星形阀